PERFILES PLASTICOS AMERICANOS PARA DRYWALL PLASTIC COMPONENTS
Los perfiles plásticos de procedencia americana Plastic Components ofrecen un mejor acabado de las tabiquerías y cielos rasos en drywall otorgándole muchas ventajas:
- Ahorro de tiempo de mano de obra.
- Ahorro de materiales como masillas.
- Mejor acabado (evita rajaduras posteriores)
- Existe un perfil para cada necesidad.

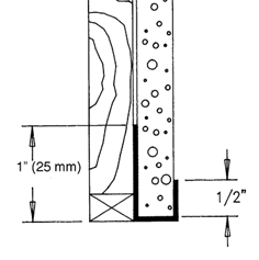
PERFIL “J”


| Código | Descripción | Espesor de Tablero | Piezas por Caja |
| 200X-50 | Perfil J, lado posterior 1” (25 mm.), lado y lado delantero ½” (13 mm.) | ½” 13 mm. | 50 unidades de 3 m. de largo. |
Aplicación
- Accesorio plástico de borde para tapar los bordes verticales y horizontales de las placas de yeso en bruto.
- Protege de la humedad en los bordes.
- No se oxida.
- Evita la electrolisis.
Diseñada para lograr un acabado limpio en las terminaciones de drywall. Envuelve completamente el borde de la hoja de drywall, escondiendo todas las irregularidades de los cortes del material.
Especificaciones
Todos los accesorios de Plastics Components cumplen con las normas ASTM D3678 y C1047. Todos los productos serán probados por terceros para cumplir con la norma ASTM D4216 de conformidad con el Código Canadiense
Acabado compatible con masillas para drywall y pinturas para acabados. Se usarán donde lo especifique el arquitecto y se instalarán según las normas de la industria.
PERFIL “J” Masillable


| Código | Descripción | Espesor de Tablero | Piezas por Caja |
| 201-50 | Perfil J Masillable 1.1/16” (27 mm.) | ½” 13 mm. | 50 unidades de 3 m. de largo. |
Aplicación
Diseñada para lograr un acabado limpio en las terminaciones de drywall. Envuelve completamente el borde de la hoja de drywall, escondiendo todas las irregularidades de los cortes del material. La aleta perforada proporciona excelente adherencia de la masilla al terminal. Se usa para revestir bordes de pirca en bruto, evitando que la humedad penetre en el tablero. El ala ancha perforada permite que la parte superior encaje en el tablero, eliminando la necesidad de forrar el ala con cinta adhesiva.
Especificaciones
Todos los accesorios de Plastics Components cumplen con las normas ASTM D3678 y C1047. Todos los productos serán probados por terceros para cumplir con la norma ASTM D4216 de conformidad con el Código Canadiense
Acabado compatible con masillas para drywall y pinturas para acabados. Se usarán donde lo especifique el arquitecto y se instalarán según las normas de la industria.
Esquinero Plastico Flexible


| Código | Descripción | Dimensión A | Piezas por Caja |
| 209A | Esquinero Plástico Flexible, 1-1/4″ x 1-1/4″ (32 x 32 mm) borde. Un borde con cortes. | Estrías en Bordes Expuestos | 100 piezas en 2.44 m. y 3 m. |
Aplicación
Diseñado con ranuras que fácilmente forman curvas o arcos. Las perforaciones aceptan fácilmente el compuesto para juntas o yeso.
Especificaciones
Todos los accesorios de Plastics Components cumplen con las normas ASTM D3678 y C1047. Todos los productos serán probados por terceros para cumplir con la norma ASTM D4216 de conformidad con el Código Canadiense
Acabado compatible con masillas para drywall y pinturas para acabados. Se usarán donde lo especifique el arquitecto y se instalarán según las normas de la industria.
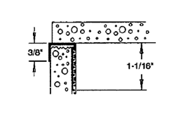
Perfil Canto Desglosable-TRIM TAB


| Código | Descripción | Ancho Placa | Piezas por Caja |
| 224 | 1-1/16” Pestaña Perforada (Masillable) | ½ (13 mm.) | 50 piezas de 3 m. |
Aplicación
Para usar donde una pared se une a un cielo raso suspendido, una ventana o un marco de puerta. La aleta separada elimina la necesidad de una protección costosa y proporciona un detalle limpio.
Especificaciones
Todos los accesorios de Plastics Components cumplen con las normas ASTM D3678 y C1047. Todos los productos serán probados por terceros para cumplir con la norma ASTM D4216 de conformidad con el Código Canadiense
Acabado compatible con masillas para drywall y pinturas para acabados. Se usarán donde lo especifique el arquitecto y se instalarán según las normas de la industria.
Perfil Sanitario Angulo Curvo


| Código | Descripción | Piezas por Caja |
| 208H | 1” (25 mm.) Bordes | 50 piezas 3 m. |
Aplicación
Se usa donde se especifican esquinas redondeadas uniformes. No se abollará ni corroerá. Excelente adhesión de la pintura y del tapajuntas de pirca. El ancho del ala es de 5/8” (16 mm). El ala tiene un ancho total de 1” (25 mm).
Especificaciones
Todos los accesorios de Plastics Components cumplen con las normas ASTM D3678 y C1047. Todos los productos serán probados por terceros para cumplir con la norma ASTM D4216 de conformidad con el Código Canadiense
Acabado compatible con masillas para drywall y pinturas para acabados. Se usarán donde lo especifique el arquitecto y se instalarán según las normas de la industria.
Perfil Sanitario Flexible Angulo Curvo


| Código | Descripción | Piezas por Caja |
| 208H | 1” (25 mm.) Bordes | 50 piezas 3 m. |
Aplicación
208A Una solución ideal para arcos difíciles de hacer. Instalación rápida. Adhesión excelente de la cinta y del tapajuntas de pirca. No se elaborará.
Especificaciones
Todos los accesorios de Plastics Components cumplen con las normas ASTM D3678 y C1047. Todos los productos serán probados por terceros para cumplir con la norma ASTM D4216 de conformidad con el Código Canadiense
Acabado compatible con masillas para drywall y pinturas para acabados. Se usarán donde lo especifique el arquitecto y se instalarán según las normas de la industria.
PERFIL “U” 3/8” y ½” Acabado Estético de Drywall


| Código | Dimensión A | Dimensión B | Piezas por Caja |
| 225 | ½” (13 mm.) | Diseñado para placas de ½” (13 mm.) ó 5/8” (16 mm.) | 30 unidades de 3 m. de largo. |
| 228 | 3/8” (10 mm.) | 30 unidades de 3 m. de largo. |
Aplicación
Diseñado para crear uniones perfectas entre láminas de Drywall ó fibrocemento, creando una dilatación limpia y uniforme. Las aletas perforadas proporcionan una excelente adherencia de la masilla a la estría.
Especificaciones
Todos los accesorios de Plastics Components cumplen con las normas ASTM D3678 y C1047. Todos los productos serán probados por terceros para cumplir con la norma ASTM D4216 de conformidad con el Código Canadiense
Acabado compatible con masillas para drywall y pinturas para acabados. Se usarán donde lo especifique el arquitecto y se instalarán según las normas de la industria.
PERFIL “V” Control de Junta Doble Masillable


| Código | Descripción | Piezas por Caja |
| 2027-16 | Control de junta masillable con cinta. | 60 piezas de 3 m. |
Aplicación
Se usa en aplicaciones de pared y cielo raso. Diseñadas para proporcionar alivio de la tensión en áreas grandes. La cinta adhesiva removible protege la V de 1/2” (13 mm) de profundidad durante la instalación. Tiene una moldura de guía incorporada de 1/16” (2 mm) para garantizar un grosor adecuado del acabado.
Especificaciones
Todos los accesorios de Plastics Components cumplen con las normas ASTM D3678 y C1047. Todos los productos serán probados por terceros para cumplir con la norma ASTM D4216 de conformidad con el Código Canadiense
Acabado compatible con masillas para drywall y pinturas para acabados. Se usarán donde lo especifique el arquitecto y se instalarán según las normas de la industria.
PERFIL “Z” REVEAL MOLD


| Código | Dimensión A | Dimensión B | Piezas por Caja |
| 202 | 1” (25 mm.) Bordes | 50 piezas 3 m. |
Aplicación
Proporciona un detalle de telar o de alivio alrededor de las ventanas, las puertas y las uniones de la pared con el cielo raso. Se puede usar lo mismo en posición vertical que horizontal.
Especificaciones
Todos los accesorios de Plastics Components cumplen con las normas ASTM D3678 y C1047. Todos los productos serán probados por terceros para cumplir con la norma ASTM D4216 de conformidad con el Código Canadiense
Acabado compatible con masillas para drywall y pinturas para acabados. Se usarán donde lo especifique el arquitecto y se instalarán según las normas de la industria.
Fichas Tecnicas de Perfiles Plasticos

Manuales de instalación y especificaciones
